En medio de una gran cantidad de patentes de empresas, la patente única de Google muestra que los usuarios pueden capturar una foto / selfie sin un teléfono inteligente. En consecuencia, su nueva patente muestra un anillo inteligente que puede tomar selfies mientras lo usa.
Crédito: Google / USPTO
Como lo descubrió el Protocolo (a través de las noticias de Softpedia), Google solicitó la patente en la USPTO en mayo de 2019. Sin embargo, se publicó solo el 10 de noviembre de 2020. USPTO es una patente y marca comercial de los Estados Unidos Oficina. Primero, el resumen de la patente prácticamente confirma que es un dispositivo portátil inteligente con una cámara para selfies.
Contents
Google Anillo inteligente: estructura y funciones
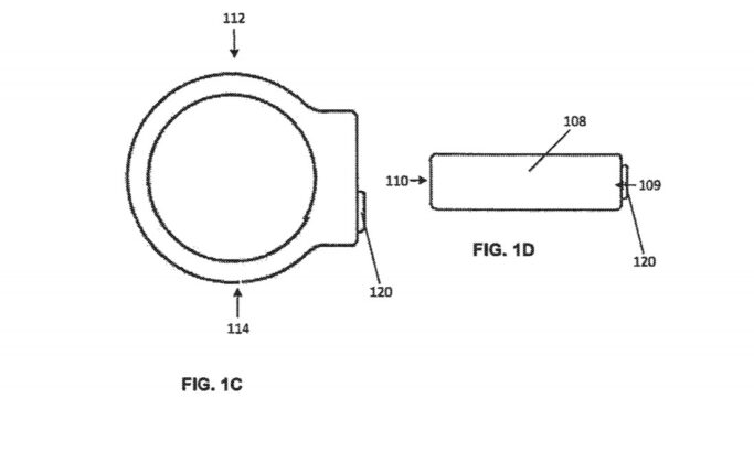
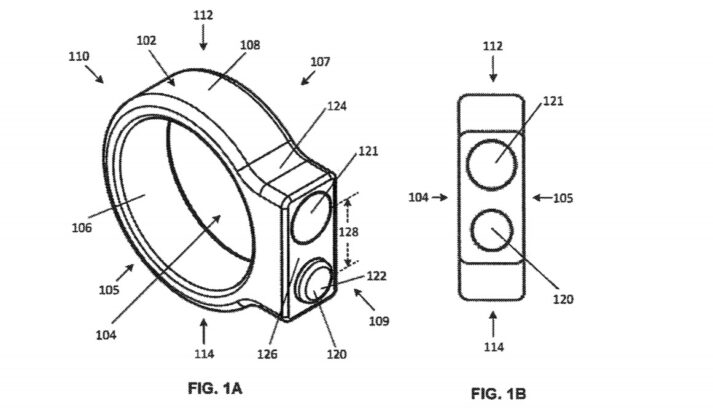
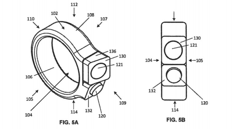
Según la descripción de la patente, el anillo inteligente alberga una abertura (abertura) que es suficiente para caber en un dedo. Precisamente, dice que la apertura tiene una forma que se ajusta al primer dedo (dedo donde se encuentra el anillo) del usuario. Además, el anillo inteligente tiene los siguientes componentes alojados en su interior:
- Un procesador (para procesar, coordinar, transmitir datos)
- Un dispositivo de entrada (botón / joystick / sensor táctil / palanca / dial)
- Un sensor óptico (cámara normal / autofocus, para capturar imágenes)
- Transmisor (Transmite la imagen a un dispositivo externo – Inalámbrico)
- Fuente de energía (opcional: batería / celdas de combustible / ultracondensador): para alimentar el procesador, el transmisor y la cámara de enfoque automático.
- Un indicador (fuente de luz / altavoz / dispositivo de retroalimentación háptica)
Además, el anillo inteligente también requiere un segundo dispositivo portátil, típicamente un HUD (Heads-Up Display) para transmitir y mostrar las imágenes. Para fines de representación, Google ha mostrado esquemas de Smart Glass. Básicamente, la compañía dice que no ha incluido otras implementaciones para evitar oscurecer (mantenerlo en secreto) las realizaciones.
Estructura de Smart Ring
Vista lateral
Para empezar, Google dice que el anillo inteligente comprende dos superficies además del anillo: una que aloja la cámara y la otra que aloja el dispositivo de entrada. Además, ambas superficies están diseñadas para inclinarse hacia los lados para confortar al usuario y al alcance de sus dedos. Además, la carcasa que tiene una cámara es capaz de sobresalir de la plataforma y más allá del anillo.
Esto depende del dedo que lleve puesto (p. Ej., Dedo índice / anular izquierdo). Por lo general, el dedo puede ser cualquiera en cualquier mano. Google incluso menciona que el cuerpo circular también puede tener una forma de hélice / espiral con una rotura. En consecuencia, se expandirá para tolerar dedos de diferentes tamaños.
SELECCIÓN DEL EDITOR: Apple patenta un auricular VR / AR futurista que envía imágenes directamente a los alumnos de los usuarios
Función
En cuanto al dispositivo de entrada, un usuario puede realizar diferentes acciones con diferentes niveles de presión (si es un botón). Sin embargo, en el caso de un sensor táctil, puede detectar diferentes niveles de pulsación y el dedo de entrada derecho para evitar pulsaciones accidentales. Otros mecanismos de actuación también pueden ser desde una computadora portátil / móvil, respuesta de un estímulo humano, seguimiento ocular a través de Smart Glass y más.
Así, al actuar, el sensor captura la imagen y la envía al procesador. La cámara puede ser una cámara fija / con enfoque automático. Según la posición, Google dice que la cámara se proyecta hacia arriba, se inclina hacia los lados para capturar la imagen. Además, la posibilidad de conectarse a un HUD sugiere que también puede transmitir en vivo el contenido a una pantalla.
Mecanismo titulado
Esquema de comunicación. Anillo inteligente izquierdo, comunicación central, HUD derecho
Dicho esto, la unidad de procesamiento tiene una CPU, circuitos de RF (transceptor de RF / DSP / SIM), E / S, energía. El anillo también puede incluir un giroscopio, acelerómetros para vibración / impacto. Además, Google también habla de un módulo de control opcional. El anillo inteligente puede usar cableado, Wi-Fi, WiMax, Bluetooth, NFC unidireccional / bidireccional para enviar los datos al segundo dispositivo.
Dispositivo portátil secundario (HUD)
Hablando sobre el segundo dispositivo portátil, Google dice que podría ser cualquier cosa, desde un Smart Glass hasta un HUD (Heads Up Display). Precisamente, debe tener una pantalla para visualizar contenidos, procesos y un transmisor para comunicarse con el anillo inteligente.

Also, other implementations of Google’s secondary wearable device hints at the possibility of a Helmet, Headbands etc. Nevertheless, this looks like an interesting patent from Google and we hope it becomes reality algún día.
